風琴通信器
古代中国や中世ヨーロッパにエオリアン・ハープと呼ばれる楽器が存在した。チターと同属の楽器で、箱形の共鳴胴と数本の太さの違う弦を持ち、風が弦の間を吹き抜けることで弦が振動し、風の強さに応じて様々な音色を奏でる。
通信機器であるため、送信側と受信側の二つの装置が最小限必要となる。どちらも箱形の共鳴胴に4本弦を張った本体と、その弦を押さえるための32本の弦押さえを持つ。この弦押さえは、弦を押さえるか押さえないかによってそれぞれが二進数の0か1を表し、これによって32桁の二進コードを表現することが可能となる。弦を押さえることによって発生する異なる周波数の音が、そのときの弦押さえの状態によって表現されている二進コードに対応する一文字として送信される。
送信側はまず、この装置を風通しの良い場所へ置き、弦押さえを操作してメッセージをセットし、風が吹くのを待つ。風が吹き、十分な風力が得られたとき、この装置が鳴り出しメッセージが送り出される。受信側の装置もこのとき風が吹いていれば、同様に音が発生しているので、送られてきたメッセージ(=音)と自身から発生している音とが共鳴するように弦押さえを操作する。共鳴した時点での弦押さえの位置が、二進コードにそのまま対応しているため、受信者は送られてきたメッセージを理解することができる。
この通信機によるネットワークの概念図
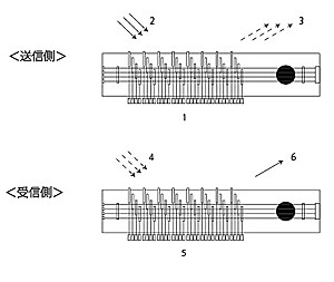
送受信の手順
1 記号表に従いメッセージをセットする
2 音を出すために十分な強さの風が吹くまで
待つ
3 四方に発信される
4 送信側のメッセージを受信する
この時、送信時と同様に十分な強さの風が
吹いていなくてはならない
5 受信したメッセージと同調するように入力バー
を操作する
6 互いに共鳴した時点で受信終了
記号表からメッセージを読みとる。
kimurayoshikuni.com


